Porsche a entamé le virage de la voiture électrique avec la Taycan… Un modèle résolument orienté vers le plaisir de conduite et qui propose une expérience géniale mais aussi très différente de celle d’une 911, par exemple. Pour autant, malgré un travail d’électrification conséquent, la marque allemande n’oublie pas ses fondamentaux. Elle compte bien entretenir, le plus longtemps possible, ses moteurs à essence. Et pour ça, Porsche ne recule devant rien, en allant même jusqu’à imaginer des moteurs à double combustion et son propre carburant de synthèse. Passons en revue les principales informations à retenir sur un surprenant brevet déposé par la marque il y a quelques jours, portant sur un moteur… À six temps !
Le eFuel comme alternative
Porsche a toujours été une marque assez visionnaire. Dès 1900, elle s’était associée à Lohner, pour créer une voiture hybride, utilisant conjointement de l’essence et de l’électricité. L’ensemble embarquait une grosse batterie au plomb et permettait d’effectuer jusqu’à 50 kilomètres. Entre temps, la marque a construit sa réputation autour d’un moteur devenu mythique : le célèbre 6-cylindres à plat. Au fil des générations, ce bloc aura beaucoup évolué mais l’architecture historique a été conservée, tout comme l’implantation en sac à dos sur les 911. Même encore aujourd’hui. Fatalement, l’électrification est perçue comme un passage obligatoire et Porsche s’y prépare depuis une bonne dizaine d’années. C’était passé par l’abandon du diesel au profit d’une technologie hybride. Cela perdure encore aujourd’hui avec des modèles hybrides rechargeables très puissants et efficients.

Mais en parallèle, Porsche veut continuer à écrire son histoire et cela passe naturellement par l’entretien de son moteur à succès (flat-6 pour les intimes). Alors plutôt que de prendre le problème frontalement, la firme de Stuttgart a eu l’idée audacieuse de créer son propre carburant ; une essence de synthèse nettement plus vertueuse pour l’environnement, nommée eFuel. Ce biocarburant comprend deux ingrédients principaux : l’eau et le dioxyde de carbone. Les deux sont ensuite synthétisés en suivant quatre étapes :
- Électrolyse de l’eau : cette étape permet de séparer l’eau en hydrogène et en oxygène, sous la forme de gaz ;
- Synthèse du méthanol : en collaboration avec Siemens Energy, cette étape vise à capturer le dioxyde de carbone (CO2) présent dans l’air et le combinant à de l’hydrogène pour synthétiser du métanol ;
- Transformation en essence : le métanol synthétique peut alors être transformé en essence par la société pétrolière américaine Exxon Mobil ;
- Utilisation : le carburant obtenu peut ensuite être utilisé.
L’eFuel : un projet concret ? Ce carburant de synthèse a l’avantage de générer bien moins de CO2 qu’un carburant traditionnel, avec une diminution de l’ordre de 85 % selon la marque. Selon la marque, l’impact environnemental serait similaire à celui d’une voiture électrique. La production a déjà commencé avec l’objectif d’atteindre les 550 millions de litres d’ici 2026.
Un moteur à 6 temps imaginé par Porsche
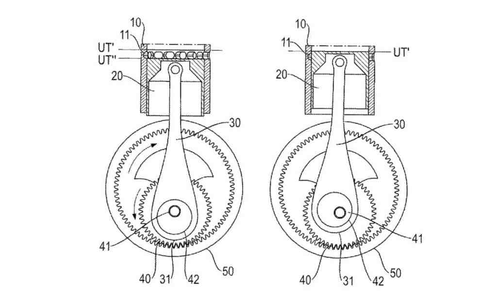
La majorité des moteurs automobiles actuels a un fonctionnement à quatre temps, indépendamment du type de carburant, du nombre de cylindres ou encore de la cylindrée. Il y a donc les phases d’admission, de compression, de combustion et d’échappements qui se répètent. Concrètement, deux rotations du vilebrequin sont nécessaires pour accomplir un cycle complet, ce qui permet de convertir le carburant ou une énergie mécanique. Seulement, Porsche a déposé un brevet assez surprenant portant sur un moteur à six temps. Le fonctionnement reste assez proche de ce que nous connaissons déjà à une différence majeure près : il y a une compression supplémentaire ainsi qu’une phase motrice en plus, juste avant l’échappement. L’objectif est de pallier le souci majeur des moteurs thermiques : une combustion qui n’atteint jamais les 100 %. En doublant cette étape, l’efficience n’en sera que meilleure…

À la clé, davantage de puissance mais aussi une consommation amoindrie et des émissions de CO2 qui descendraient. Ce dépôt de brevet ne signifie pas pour autant qu’il y a une suite qui sera donnée en série. Porsche pourrait utiliser cela en compétition, par exemple… Ou ne pas l’utiliser ! Ou du moins, pas sous cette forme directe. Malgré tout, cela démontre la volonté de la marque d’abaisser ses émissions polluantes tout en conservant l’intégrité de ses moteurs. Si le virage de l’électrique a été contraint et forcé (de manière indirecte…), on peut garder espoir quant aux futurs moteurs essence. Et ça, c’est plutôt une bonne nouvelle !





